Los meniscos son fibrocartílagos que estan presentes en las rodillas entre el femur y la tibia. Cada drodilla tiene dos meniscos, uno medial y otro lateral. Tienen forma de letra "C".
Los meniscos son flexibles y se adaptan a los cambios de posición (flexión y extensión de la rodilla).
Los meniscos tienen una función biomecánica importante: su forma les permite adaptarse en la cara superior al contorno redondeado del femur y en su cara inferior se adaptan a la forma aplanada de la Tibia.
De esta manera, parte el peso que viene de la superficie esférica del fémur, se transmite hacia la tibia a traves de los meniscos, disminuyendo la presión entre ellos, con lo que se preserva el cartílago articular.
Muchas veces ocurre que ante un movimiento forzado, el menisco puede quedar pinzado y lesionarse (rupturas o desgarros). Estas lesiones puueden ser desgarros lineales, radiales, transversales, mixtos, complejos. Esto puede generar dolor, sensación de pinchazo o punzada en algunos movimientos, molestias crónicas en la rodilla, y rara vez incapacita.
Algunos desgarros tienen gran tamaño y una parte del menisco puede quedar móvil y desprenderse de su posición normal, ubicándose hacia el centro de la rodilla y puede producir bloqueo del movimiento de la articulación con mucho dolor. Este bloqueo puede ser transitorio o permanente y generalmente necesita cirugía para corregirse definitivamente.
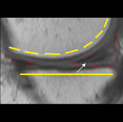
MENISCO ROTO:

Imagen: se aprecia una ruptura del menisco visto con artroscopia.

Imagen: se aprecia un menisco sano visto con artroscopia.

Imagen: se aprecia un menisco degenerativo (envejecido, deflecado) visto con artroscopia.


